Двигатели современных транспортных средств состоят из множества различных механизмов и компонентов. И ни один из них не является лишним — каждый узел выполняет определенную функцию, так или иначе влияющую на работу мотора в целом. Из этого материала вы узнаете, какое у магнето устройство и принцип работы, и зачем этот элемент нужен.
Описание магнето
Так что же представляет собой электронное магнето, какова его схема работы и принцип функционирования? Ответы на эти вопросы мы дадим далее.
Понятие, предназначение и функции
Магнето являет собой магнитоэлектрическое устройство. Этот компонент предназначен для преобразования механической энергии вращения ротора в напряжение, то есть электрическую энергию. В частности, речь идет об энергии высоковольтного разряда на свечах, которая необходима для обеспечения воспламенения горючей смеси и, соответственно, запуска двигателя. На сегодняшний день установка магнето не является приоритетной задачей для автолюбителей, тем не менее, еще можно встретить авто, системы зажигания которых оснащены магнето (автор видео — канал liampic).
Магнето узел нельзя сравнивать с генератором — это разные устройства, поскольку к магнето можно отнести только генераторные механизмы, возбуждающиеся от постоянных магнитов. Кроме того, обычно они должны быть подключены к высоковольтным трансформаторам силовых агрегатов. В зависимости от конструкции, узел может обеспечивать не только запуск силового агрегата, то есть зажигание, но и электроснабжение всей бортовой сети авто. Но, как правило, механизмы такого типа обеспечивают питанием исключительно системы зажигания.
Также нужно добавить, что в настоящее время на рынке можно найти генераторные узлы на постоянных магнитах с катушками на статоре. Их использование допускается на скутерах и мотоциклах, но в целом такие механизмы универсальны.
В соответствии с конструкцией дополнительная обмотка, которая находится на сердечнике, предназначена для генерирования напряжения в электросети. Магниты могут быть расположены на маховике, предназначенном для возбуждения самого магнето, а также генераторного узла. Устройства такого типа обычно ставятся на снегоходы, гидроциклы, мотоциклы и мотороллеры — в них они функционируют в паре с регуляторами и выпрямителями напряжения. Мощность подобного механизма не высокая, она составляет около 100 ватт, однако этого более, чем хватит для света и зарядки АКБ. Основными достоинствами таких механизмов являются небольшие размеры и сравнительно маленький вес.
Конструкция и принцип действия


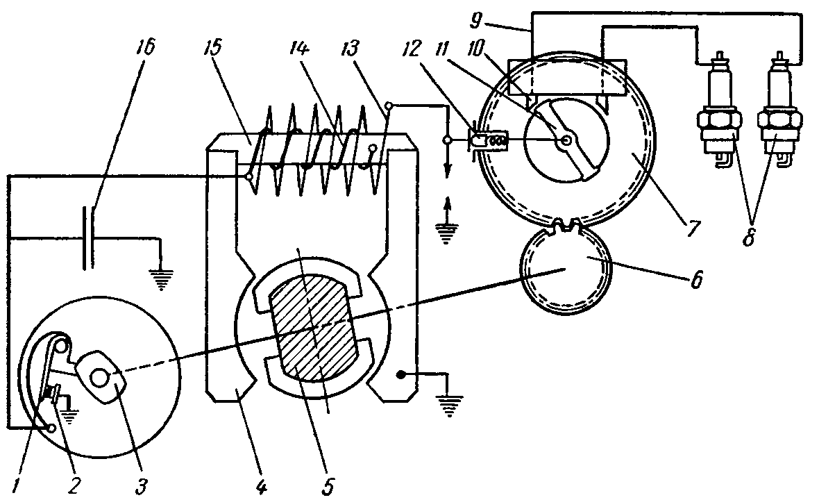
Что касается конструкции, то устройство магнето такое:
- Подвижный элемент прерывателя зажигания.
 - Его неподвижный компонент.
 - Так называемый кулачок.
 - Башмак магнитопровода.
 - Роторный узел.
 - Его ведущая шестеренка.
 - Ведомая шестеренка механизма.
 - Свечи зажигания.
 - Высоковольтный кабель.
 - Неподвижный электрод.
 - Подвижный электродный элемент.
 - Пружинный контакт устройства.
 - Вторичная обмотка.
 - Первичная обмотка.
 - Магнитопроводный компонент.
 - Конденсатор.
 
Теперь рассмотрим принцип действия магнето, ведь если вы решили поставить его на свое транспортное средство, вам просто необходимо это знать. Когда контакты замкнуты, в первичной обмотке проходит ток, вызванный действием электромагнитной силы. Благодаря этому току вокруг сердечника и трансформаторного механизма образуется магнитный поток. В тот момент, когда контакты размыкаются, ток больше не передается по механизму, соответственно, магнитное поле становится меньше. В это же время электромагнитная сила образуется во вторичной обмотке — уровень напряжения здесь увеличивается до десятков тысяч вольт.
Поскольку в данный момент подвижный электрод располагается рядом с неподвижным, напряжение будет перемещаться по такому принципу:
- сначала ток протекает на вторичную обмотку трансформаторного устройства 13;
 - затем он поступает на пружину 12;
 - после этого между электродами образуется искровой поток;
 - далее, искра передается на высоковольтный кабель, отмеченный на схеме номером 9;
 - через провод напряжение поступает на электрод свечи;
 - затем ток по схеме передается на массу силового агрегата и само магнето;
 - от него он поступает на первичную и вторичную обмотки (автор видео — канал Yuriy777888).
 
В тот момент, когда контакты размыкаются, магнитное поле пересекается и с первичной обмоткой, в результате чего в ней образуется электродвижущая сила. Уровень ее напряжения составляет от двухсот до трехсот вольт, но этого слишком мало для того, чтобы пробить воздушный зазор между контактами. Соответственно, на протяжении какого-то времени через эту цепь будет протекать ток самоиндукции. Этот ток позволяет замедлить пропадание магнитного поля, в результате чего он снижает электродвижущую силу на вторичном участке цепи. Также следует отметить, что чрезмерное искрение в контактах прерывательного элемента может привести к их подгоранию.
Для того, чтобы во время работы контакты не подгорали, к ним подключается конденсатор, позволяющий предотвратить прохождение тока между контактами после их размыкания. Сам ток поступает на зарядку этого элемента. Напряжение в первичной цепи будет наиболее высоким в тот момент, когда ротор выйдет из начального положение на какой-либо угол. Когда это происходит, в узле осуществляется размыкание первичной цепи, благодаря этому обеспечивается наиболее высокий параметр электродвижущей силы. В зависимости от конструкции и вида узла, угол колебания ротора может варьироваться в районе 8-18 градусов.
Фотогалерея






Видео «Как установить и отрегулировать магнето?»
Подробная инструкция на тему самостоятельной установки и регулировки магнето представлена на видео ниже (автор ролика — канал MegaMpal).